This website requires JavaScript.
Explore
Knowledge base
univer-6th-semester
/
software-testing
Code
Actions
Releases
4
Files
71de5751fee8900e181b76e618a6d707116d1662
software-testing
/
lab2
/
img
/
programm1
/
block-schema-1.png
Arity-T
4800f11a7e
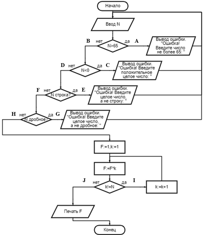
Первая прога (Спасибо Владу Гаару ;))
2025-04-08 18:39:26 +03:00
243 KiB
660x755px
Raw
History